Apple подала в Патентное бюро США заявку, в которой речь идёт о ноутбуке, выполненном в цельном корпусе и лишённом традиционного шарнирного механизма.
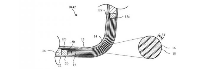
Патент с порядковым номером 10,642,318, называющийся «Планарная петля в сборе», описывает гибкое устройство, весьма похожее на MacBook Pro. В нём говорится, что ноутбук получит вид цельного устройства и вместо привычного шарнира будет иметь гибкую часть корпуса между клавиатурой и экраном.
Суть изобретения состоит в том, что сгибаемая часть, имеющая «регулируемую структуру изгиба», должна быть сформирована из «стопки слоёв, способных переходить из несжатого состояния в сжатое».

Фото: appleinsider.com
По большей части патент описывает способы, с помощью каких данная возможность может быть реализована на практике. Однако в нём практически не описаны преимущества изгибаемого механизма перед привычным шарниром.

Фото: appleinsider.com
Петли, использующиеся в ноутбуках Apple, являются высококачественным и отлично протестированным механизмом, который практически не вызывает никаких нареканий у пользователей. Но как поведёт себя запатентованный изгибаемый механизм – тяжело представить, хотя он может оказаться даже лучше применяемого сейчас решения.

Фото: appleinsider.com
Помимо этого, патент описывает возможность применения в устройствах с новым механизмом гибких дисплеев, что перекликается с одним из предыдущих патентов Apple, в котором речь идёт об устройстве с двумя дисплеями, один из которых используется для ввода, а второй для отображения контента.


















